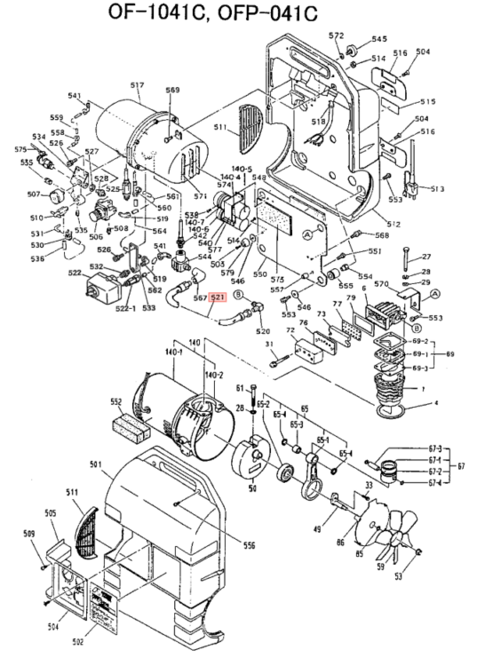
フレキシブルチューブ

25,300(税込)
商品コード:91687100
レビューはまだありません
納期目安:7~10営業日で出荷
商品がカートに追加されました
カートを見る

REVIEW レビュー

レビューはまだありません