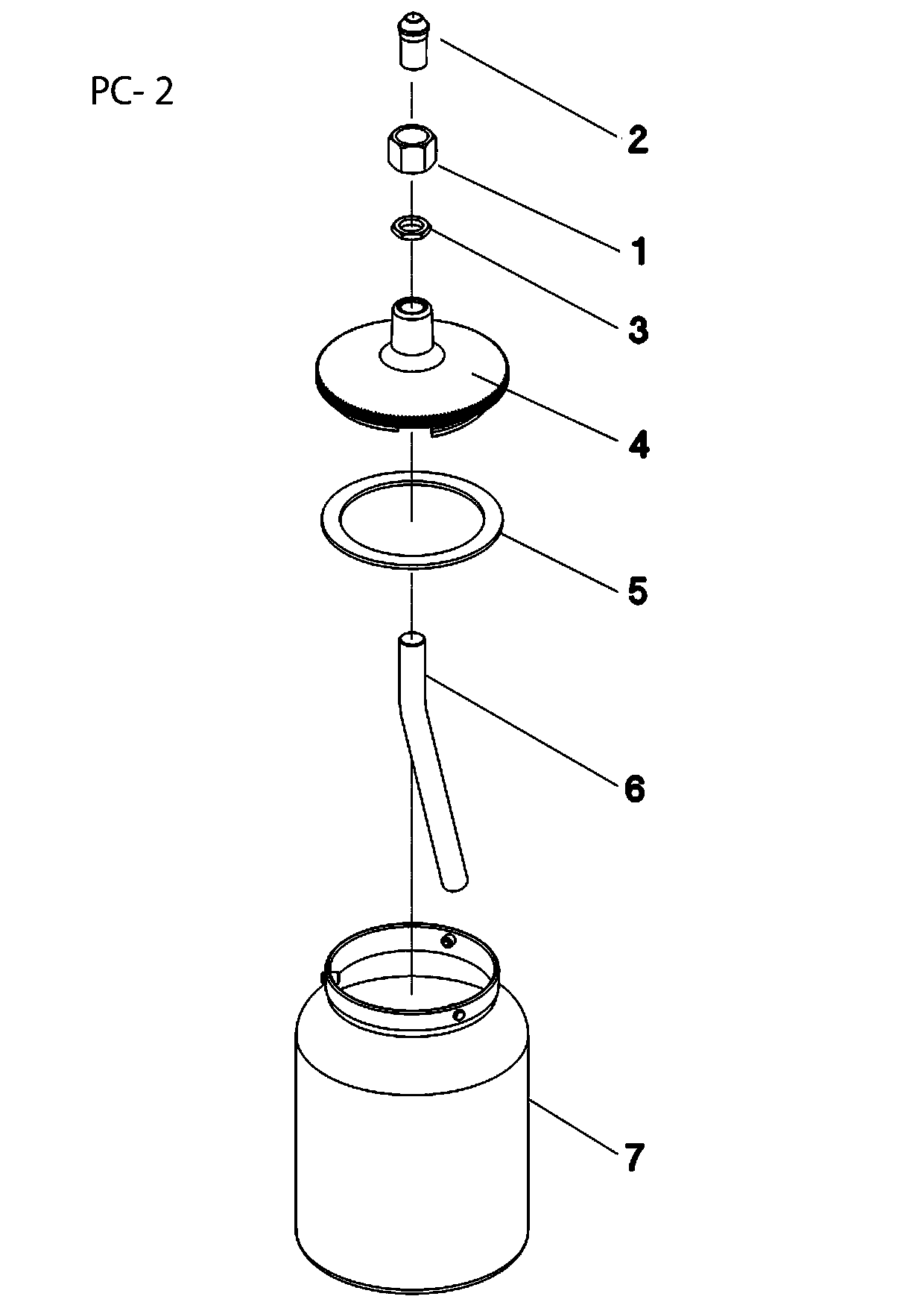
【6】吸上げ管 PC-2用

946(税込)
9ポイント
商品コード:941010051
レビューはまだありません
納期目安:7~10営業日で出荷
商品がカートに追加されました
カートを見る

PRODUCT 商品説明

風船番号:6

REVIEW レビュー

レビューはまだありません